
MIL-DTL-24784/10C(NAVY)
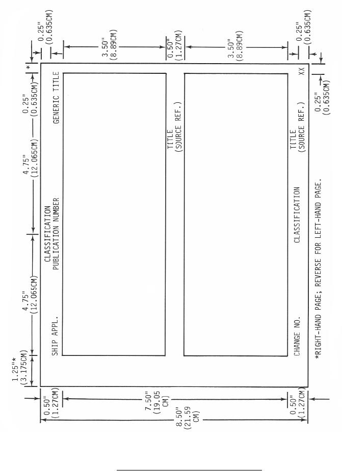
Note: Sample arrangement only. Size and legibility requirements do not necessarily conform to minimum
specification requirements.
FIGURE 3. Double illustration page layout and dimensions.
14
For Parts Inquires call Parts Hangar, Inc (727) 493-0744
© Copyright 2015 Integrated Publishing, Inc.
A Service Disabled Veteran Owned Small Business