
MIL-DTL-24784/3B (SH)
Note: Sample arrangement only. Size and legibility requirements do not
necessarily conform to minimum specification requirements.
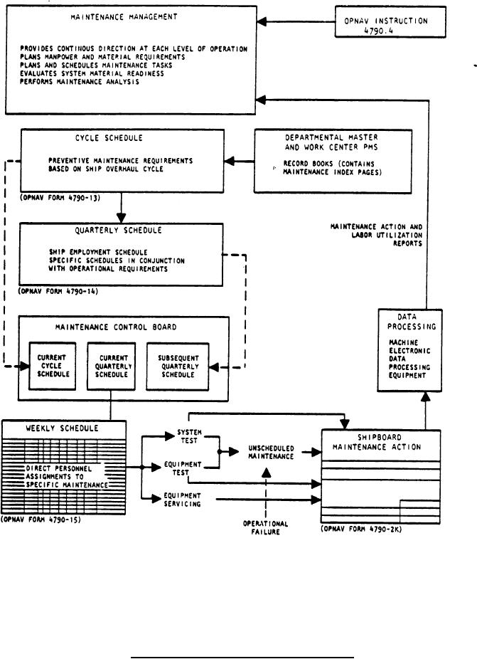
FIGURE 3-18.
Planned maintenance system block diagram. (Sample)
49
For Parts Inquires call Parts Hangar, Inc (727) 493-0744
© Copyright 2015 Integrated Publishing, Inc.
A Service Disabled Veteran Owned Small Business